Your One-Stop Solution For Cable & Wire Accessories!

RoHS Compliant Cable & Wire
Technical Information


Contact Us About Us  
 
LinkedIn Facebook Twitter You Tube Sealcon Blog
Cables & WiresEnclosures (Plastic & Metal)Pneumatic Components Liquid Tight Strain Relief FittingsCircular ConnectorsConduit System (Tubing, Fittings, etc.)Accessories & Adapters, Reducers, Enlargers
 
easyquote
*E-mail
*Name
*Company
*Phone
*State
*Zip Code
*Country
Please answer the security question:
3+2=
(*) Required Fields
Catalogs / Samples, Full Quote & Contact Information
303-699-1135
1-800-456-9012
dropdownbox

Rating Conversion Factors for Installation of Medium Voltage Power Cables, 6-30 kV
for Installation in air - Single Conductor Cables in 3-Phase Systems

Arrangem. of cable in laying condition No. of cable troughs
or trays
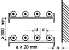
For installation on plain surface
Space = cable diameter d
Distance from wall ≥ 2 cm
Installation method Number of systems
1 2 3
On the ground 1 installation on the ground 0.92 0.89 0.88
On non-perforated cable troughs (restricted air circulation) 1 installation on non-perforated cable troughs (restricted air circulation) 0.92 0.89 0.88
2 0.87 0.84 0.83
3 0.84 0.82 0.81
6 0.82 0.80 0.79
On perforated cable troughs 1 installation on perforated cable troughs 1.00 0.93 0.90
2 0.97 0.89 0.85
3 0.96 0.88 0.82
6 0.94 0.84 0.80
On non-perforated cable troughs or cable ladders (unrestr. air circulation) 1 installation on non-perforated cable troughs or cable ladders (unrestricted air circulation) 1.00 0.97 0.96
2 0.97 0.94 0.93
3 0.96 0.93 0.92
6 0.94 0.91 0.90
On platform or on walls 1 installation on platform or on walls 0.94 0.91 0.89
2 0.94 0.90 0.86
For installation on plain surface
Space = 2 x cable diameter d
Distance from wall ≥ 2 cm
Installation method Number of systems
1 2 3
installation on the ground 0.98 0.96 0.94
installation on non-perforated cable troughs (restricted air circulation) 0.98 0.96 0.94
0.95 0.91 0.87
0.94 0.90 0.85
0.93 0.88 0.82
installation on perforated cable troughs 1.00 0.98 0.96
0.97 0.93 0.89
0.96 0.92 0.85
0.95 0.90 0.83
installation on non-perforated cable troughs or cable ladders (unrestricted air circulation) 1.0 1.0 1.0
0.97 0.95 0.93
0.96 0.94 0.90
0.95 0.93 0.87
installation on platform or on walls 1.00 0.91 0.89
1.00 0.90 0.86
Conversion factors for deviating ambient temperature
Temperature 10° 15° 20° 25° 30° 35° 40° 45° 50°
VPE Cable 1.15 1.12 1.08 1.04 1.0 0.96 0.91 0.87 0.82
PVC Cable 1.22 1.17 1.12 1.06 1.0 0.94 0.87 0.79 0.71
quote
Items For Quote

   
quote
box
Sealcon is the Exclusive Importer of HUMMEL products. We offer over 6,000 different Types and Sizes of RoHS Compliant Liquid Tight Strain Relief Fittings, Cord Grips, Cable Glands, Circular Connectors, Conduit System, Industrial Enclosures and Other Related Cable Management Products which are rated the best in the industry.
7374 S. Eagle Street
Centennial, CO 80112-4221 USA
Toll Free: 800-456-9012 / 303-699-1135 FAX: 303-680-5344
Valid XHTML 1.0 Transitional
To Top of Page Top of Page

Copyright © Sealcon All Rights Reserved
|Domestic & International Cables|Enclosures |Liquid Tight Strain Relief Fittings & Accessories|
|Circular Connectors|Conduit System|Pneumatics|Cable Index|Enclosure Index|Search|
|Media|Site Map|Company Overview|Contact|Privacy Policy|Copyright Notice|